БОРЕЙ 530-430 МБПневмотранспорт для сыпучих материалов
Перемещение сыпучих материалов силой сжатого воздуха - эффективный и весьма распространенный технологический процесс. К несомненным достоинствам пневмотранспортных установок следует отнести простоту их эксплуатации и управления, компактность и возможность перемещения грузов по сложной траектории, герметичность и простоту монтажа.
Различают пневмотранспортные установки периодического и непрерывного действия, работающие при низком (до 9.8 кПа), среднем (до 98 кПа) или высоком давлении (до 588 кПа) воздуха. Для последних, источником сжатого воздуха служат компрессоры (поршневые, винтовые и т.д.), в то время как для оборудования, работающего при меньшем давлении, используются более экономичные воздуходувочные машины.
Типичным представителем пневмотранспортного оборудования (РИС.1) периодического действия является однокамерный пневматический насос – монжус, непрерывного – струйные насосы и пневмовинтовые.



РИС. 1 — Пневмотранспортное оборудование
а) Пневмокамерный насос ТА-28А: 1 — аэрирующее кольцо разгрузочного клапана; 2 — камера; 3 — клапан подачи воздуха; 4 — клапан выпуска воздуха; 5 — система пневмоуправления; 6 — переключатель загрузочного трубопровода; 7 — загрузочный клапан; 8 — разгрузочный трубопровод; 9 — пульт управления; 10 — весы; 11 — разгрузочный клапан
б) Струйный насос с интенсифицирующей камерой: 1 — Загрузочный патрубок; 2 — обратный клапан; 3 — интенсифицирующая камера; 4 — лоток криволинейной формы; 5 — конфузор; 6 — смесительная камера; 7 — диффузор; 8 — аэроднище; 9 — регулируемое сопло; 10 — загрузочный патрубок
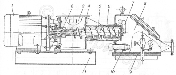
в) Пневмовинтовой насос ТА-14Б: 1 — электродвигатель; 2 — уплотнение; 3 — корпус; 4 — шнек; 5,6 — гильза; 7 — обратный клапан; 8 — смесительная камера; 9 — аэроднище; 10 — сопло; 11 — рама
Сегодня промышленностью выпускается обширная номенклатура пневмотранспортных машин различных типов. Однако большинство представленных на рынке моделей имеют большую производительность и работают на высоком давлении сжатого воздуха, а значит, предполагают использование мощных компрессоров, сложной аппаратуры воздухоподготовки и т.д. Поэтому для транспортировки относительно небольших объемов сыпучих материалов (?5м3/ч) традиционно применяется механическое транспортное оборудование: винтовые конвейеры, ковшовые элеваторы, ленточные транспортеры. Данные механизмы, хотя и более громоздки, зато не нуждаются в дорогостоящем дополнительном оборудовании - компрессорах высокого давления.
Однако перемещение сыпучих материалов силой сжатого воздуха - это ни в коем случае не прерогатива только крупных заводов и мощной компрессорной техники, при определенных условиях этот эффективный способ транспортирования сыпучих материалов может с успехом использоваться и в условиях небольших предприятий. Ведь компактные пневмотранспортные комплексы, работающие на низком давлении воздуха, имеют целый ряд преимуществ не только перед механическими транспортными агрегатами, но также и перед пневмооборудованием, работающем на высоком давлении.
Приведем краткий перечень сильных сторон низкого давления:
Наиболее полно преимущества трубопроводного пневмотранспорта на основе воздуходувочных машин проявляются именно в условиях небольших предприятий, когда объемы транспортируемых материалов относительно не велики (1-5 т/ч), а их подача осуществляется на высоту до 30 метров включительно. При решении данных задач компактные пневмотранспортные комплексы имеют ряд существенных преимуществ перед механическими конвейерами. Ни один другой вид транспортного оборудования не может похвастаться большим радиусом действия в стесненных производственных условиях и лучшей «встраиваемостью» в существующие технологические линии.
Машиностроительное предприятие «ТЕХПРИБОР» выпускает малогабаритный пневмотранспорт «БОРЕЙ 530-430» (РИС. 2), который предназначен для перемещения сыпучих материалов силой сжатого воздуха. Пневмотранспорт является встраиваемым модулем высокого уровня готовности, он оснащен собственной воздуходувочной машиной и не нуждается во внешних источниках сжатого воздуха. Подачу материала можно начинать сразу после сборки трубопровода и подключения электрооборудования к сети.

РИС. 2. Пневмотранспортный комплекс «БОРЕЙ530-430»:
1 — вихревая воздуходувка; 2 — шлюзовой затвор с ячейковым ротором; 3 — мотор-редуктор привода ячейкового ротора; 4 — площадка основания; 5 — виброизоляторы воздуходувки и шлюзового затвора; 6 — труба наддува с клапаном сброса давления PRV; 7 — манометра; 8 — труба выброса материала; 9 — циклон.
Для транспортировки сыпучих порошкообразных, зернистых, кусковых материалов пневмотранспортный комплекс «БОРЕЙ 530-430» устанавливается непосредственно под силосом или бункером. Фланец шлюзового затвора комплекса соединяется с разгрузочным окном емкости, при этом столб материала создает дополнительное гидростатическое давление, что улучшает условия транспортировки.
Компактный пневматический комплекс «БОРЕЙ 530-430», сохраняя все преимущества трубопроводного транспорта, дополняет его новыми качествами – автономностью и низкими эксплуатационными расходами.
Липилин А.Б., главный инженер завода «ТЕХПРИБОР»